
IT之家 9 月 12 日消息,超雪团队在微博发文,展示了适用于苹果 iPhone Air / iPhone 17 等机型的“无线化 SIM 卡”方案,号称“手机不开孔,不换电芯”。
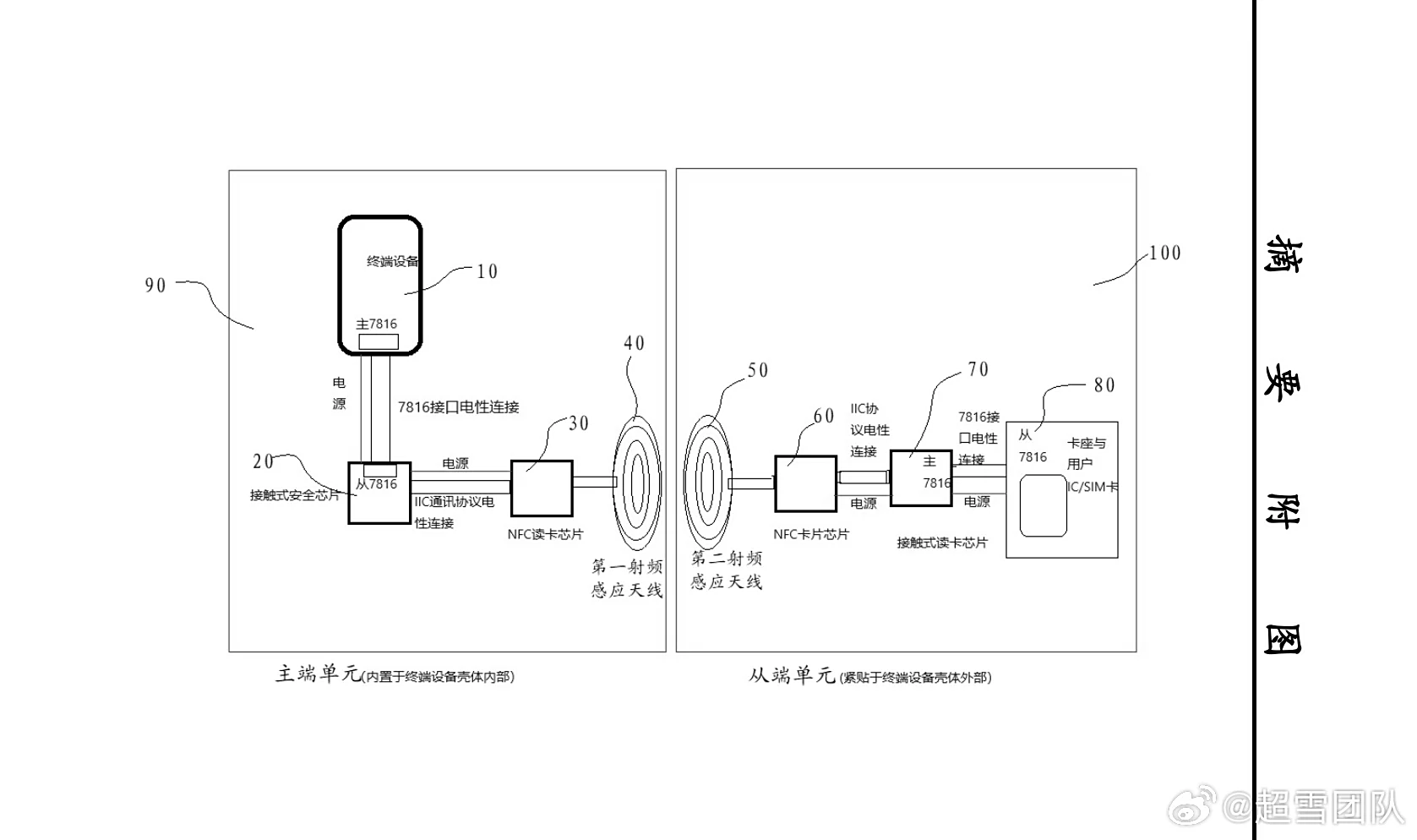
超雪团队表示,国内运营商的 eSIM 发行需要合规,华强北是不被允许做的,因此暂无法实现“写 eSIM”。不过目前该团队已有“无线化 SIM 卡”方案,并“做了知识产权储备”。
启点优配
对此,评论区有用户称“也就是通过外挂 NFC,把实体卡转换成 eSIM,手机能通话么”,对此,超雪回应“就是这个原理、从 NFC 中取电”,同时表示相应功能不影响手机 NFC 功能。
启点优配
在形态方面,超雪团队透露相应产品将采用 NFC 贴纸方式,厚度为“SIM 卡的厚度”,同时还有望推出“磁吸移动电源”形态高阶产品。
启点优配
盈富忧配提示:文章来自网络,不代表本站观点。